Описание предоставлено архитекторами
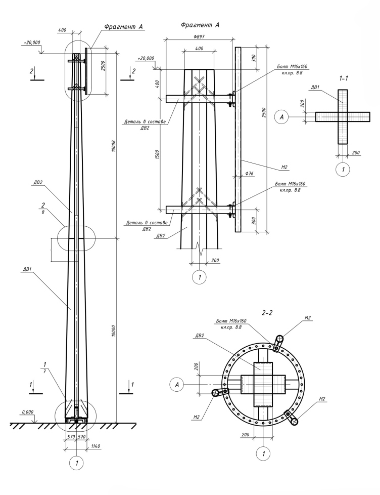
Ежегодно России требуется тысячи новых вышек сотовой связи, в том числе в отдаленных регионах. Сокольский деревообрабатывающий комбинат (Segezha Group) создал 20-метровую мачту из клееной древесины, соединив два 10-метровых модуля. Она на 30% легче металлических, поэтому проще в доставке, а кроме того, дешевле в производстве и экологичнее – углеродный след ниже на 40%. Пилотный проект может открыть новый рынок для лесопромышленного комплекса. Возможна разработка вышек высотой 30–50 метров. Потенциальная экономия для операторов связи – 15–20%.

